본문 바로가기
  • 유해게시물신고
파운데이션 필드버스의 적용 예
산업일보|kidd@kidd.co.kr
페이스북 트위터 카카오스토리 네이버블로그 프린트 PDF 다운로드

파운데이션 필드버스의 적용 예

기사입력 2006-04-07 09:19:09
페이스북 트위터 카카오스토리 네이버블로그 프린트 PDF 다운로드
[산업일보]
2003년 이후는 해외 프로젝트들이 거의 파운데이션 필드버스를 응용하고 있고, 점차 확대 추세에 있는 것이 새로운 계장설계의 흐름인 것 같다. 1980년대에는 아날로그 패널계장에서 DCS (Distributed Control System) 적용시대로 계장공사 개념이 바뀌었다. 그러나 현장계기들과의 연결은 재래식의 4-20mA신호를 그대로 사용하였으며, 제어시스템만의 디지털화가 진행되었다고 봐야하겠다.
그렇다면 2000년 이후의 계장 자동화는 현장계기류 및 DCS시스템에 연결하는 통신관련의 자동화가 진행되고 있다고 여겨진다.
국내석유화학산업은 활발치가 못하여 적용 예 가 많지는 않으나, 증설, 개선 공사 등 에서는 검토하여야 할 사항이라고 생각되며, Pilot 또는 Sample project 등의 연구는 활발히 진행되고 있 다.
이 글에서는 지난 몇 년간 급속한 변화와 함께 계장기술에 적용되고 있는 Foundation Field bus의 이론적인 사항이 아닌 현장에서 필요로하는 실질적인 적용 예에 대하여 거론하고자 한다.
필드버스 개요
요즘들어 계장 및 시스템 설계 개념이 급변하고 있다. 점점 컨트롤 캐비넷, 마샬링 캐비넷, 패널등은 사라지고 제어실에는 MMI만 남아 일반 사무실분위기의 플랜트가 속속 등장하고 있으니 말이다. 여기서는 석유화학계장관련 자동화에 적용되는 Foundation Fieldbus 설계와 관련하여 현장에서 적용 가능한 파운데이션 필드버스 관련 계기류에 대하여 설명한다. 설명을 위하여 일부 그림들은 Foundation Fieldbus의 기술자료에서 인용하였다.

파운데이션 필드버스의 적용 예
그림1


<그림 1>처럼, 상위 기종간 (PLC, DCS등)의 통신은 H2 (HSE - High Speed Ethernet : 100 Mb)를 이용하고, 현장계기류 (Fieldbus Device s)는 H1 (31.25kHz)을 사용한다.
이렇게 필드버스 H1통신을 사용하면 손쉽게 이종간의 HSE 시스템과의 연결성도 용이하게 되어, 여러 상위기종과 정보 교환이 이뤄지므로, 향후 자동제어는 이런 형태로 정착되어갈 것이다. 이장에서는 프로세스 현장과 DCS의 Fieldbus Communication Module 사이에 필요한 H1 Foundation Fieldbus에 관련된 계기류만을 대상으로 거론한다.<그림 2>

파운데이션 필드버스의 적용 예


지금까지 아날로그 설계 개념으로 보면 현장 계기류와 DCS 사이는 4-20mA, 또는 Discrete Signal등 신호를 주고받기 위하여
● multi-core cable을 포설하여야 하였고 ,
● 주고 받을 수 있는 정보도 한정되었고(PV, OP)
● 현장 계기류가 Smart type으로 변천함에도 불구하고 각종 정보를 제대로 이용할 수 없었으므로, 설치 및 유지보수에 상대적으로 많은 시간과 비용이 필요했었다. (현장계기 유지보수를 위하여 HART Maintenance System을 추가 하였던게 현실이다.)
이를 파운데이션 필드버스개념으로 바꾸면 <그림 3>.

(1) 한 개의 케이블에 여러개의 (2-32개) 계기를 물려 1900meter (일반지역에서의 이론적인 거리) 까지 전송할 수가 있다.
(2) I/O moldule 대신에 Foundation Field bus communication module이 보다 많은 loops/points를 담당하므로 DCS cabinet 및 각종 interface 장비를 설치하는 marshalling rack의 갯수가 줄어들 뿐만 아니라 연결하기위한 터미네이션 작업도 획기적으로 줄어든다.
(3) 또한 많은 현장계기들이 기능(function Module)을 갖고서 Peer-to-Peer communica tion을 할 수 있으므로 Host system의 기능을 현장으로 분산시켜, 진정한 분산형 DCS 시스템 구축이 가능하다.
(4) 예전에는 I/O module까지의 정보를 획득할 수 있었지만, 디지털 통신을 하므로 현장계기가 가지고 있는 정보까지 범위를 확장할 수 있어 Installation, Commissioning (loop checks etc)등의 시간과 노력이 대폭 경감된다. (시스템에 따라서는 HART maintenance system을 따로 구축할 필요가 없다.)
(5) 보다 손쉽게 상위 여러 시스템과 연결할 수가 있다. (HSE)<그림 4>

파운데이션 필드버스의 적용 예
그림4


Foundation Fieldbus 위원회에서 나온 tech nical overview를 보면 Foundation Fieldbus를 적용한 Utility Plant 예가 나옵니다. 여기서 거론한 Control Room과 현장은 약 200미터 거리쯤이다. 다음 <표 1>처럼,

파운데이션 필드버스의 적용 예


1) 케이블은 78%, 터미네이션은 62% 가 절감되었다고 나온다.
2) 또한 I/O interface card류가 약 50% 절감 되어 전체적인 시스템 비용은 약46% 절감되었다고 한다.
3) 여기에 Commissioning시 원격루프점검, 원격 디바이스점검, 원격 컨피규레이션 등으로 인하여 인건비를 약 25% 절감했다고 예를 들고 있다.
그러나, 현싯점에서 파운데이션 필드버스 H1은 AI/O에 국한되어있다라고 보아야한다. 물론 DI/O까지도 확장 접속시킬수는 있으나 문제점도 많이 안고 있는관계로 DI/O는 기존방식대로 배선설계를 하는 경우가 대부분이다.
따라서 전체 계장 설계 시에는 이런 제약사항등을 충분히 고려하여서 생각하여야 할 부분이 있으며, 현장 계기류들의 호환성 문제들도 같이 고려할 대상이 됨을 잊지 말아야한다
여기에 Foundation Fieldbus Segment 설계의 Unscheduled통신 여분, ACycle, Macro Cycle 등의 연산까지가 거론되기 시작하면 연결 갯수는 더 줄어들 소지가 많다.
따라서 현실적인 적용측면에서 검토한다면, 이론적 계산에의한 수치보다는 물리적인 면에서는 절감효과가 적을 수 있으나, 프로세스의 효율적인 운전을 위한 각종 정보 데이터획득 및 관리적인 측면에서는 획기적으로 발전을 이뤘다고 여겨진다. <그림 5>
<그림 6>에서 보는 것처럼 파운데이션 필드버스 대비 기존 아날로그 계장을 비교해보면 많은부분의 업무량이 감소하는 것을 볼수가 있다. 일단 파운데이션 필스버스로 구축을 하고 나면 기존 아날로그 계장에 비하여 상대적으로 Information, Flexibility, Maintenancebility, Cabinet Ro om Space 절감등의 많은 혜택을 누릴수가 있다.
인원의 효율적인 관리, 경쟁의 심화 및 환경요구조건의 강화로 인하여 보다 효율적이고 환경친화적인 프로세스 구축 및 운전이 요구되는 시대에서 정확하고 효과적인 제어를 위한 필요조건으로서 31.25kHz의 디지털 통신을 이용한 파운데이션 필드버스 통신방식을 현장계기류와의 연결방식으로 도입함으로서, 보다 많은 현장계기 정보에 의한 생산제어계획수립, 운용유지보수계획수립 및 수행이 가능하고 정확한 제어가 가능하므로, 품질향상, 친환경적 운전등이 가능해지는등 실질적인 운영능력이 향상될뿐만 아니라, 신설 및 증설공사시 데이터베이스 구축 작업 감축, Loop Check 및 Commissioning 시간 절약 Cabinet I/O module도 줄어 wiring 작업량, marshal ling 작업량도 줄고, Remote Maintenance (Diagnostic, Re-ranging, 등등) 가 가능해지는등의 잇점으로 인하여 신,증설프로세스에의 파운데이션 필드버스기술의 적용은 급증하고 있다.

파운데이션 필드버스의 적용 예


기존의 시스템 설계는 <그림 7>에서 보시는 것처럼 4-20mA 계장신호를 현장계기로부터 중간 Junction Box를 거쳐 마샬링캐비넷, IO 모듈등을 경유하여 접속된다.
따라서 연결하기위한 현장케이블공사, 마샬링캐비넷 등으로 인하여 캐비닛룸 공간도 필요하고, 설치공사, 유지보수시에도 손이 많이 가는게 현실 이다.
결론적으로 제어나 센서가 아무리 발달하여도 아날로그신호를 받아서, 지능화 데이터를 공유하는데 는 한계가 있을 수밖에 없다.
플랜트의 제어요구 및 상위 시스템의 발달 속도에 따른 요구사항을 만족시키기 위한 획기적인 방법이 필요한 상황에서, 현실적인 프로세스 자동화 기술로 파운데이션 필드버스 기술 (Founda tion Fieldbus Technology)이 거론되는 것 같다.
<그림 7>은 기존의 아날로그 신호 제어시스템을 파운데이션 필드버스개념으로 바꾸면 (왼쪽은 기존아날로그설계, 오른쪽은 파운데이션 필드버스 설계)
파운데이션 필드버스 설계는 마샬링캐비넷, IO 모듈등의 하드웨어적인 부분이 상당량 필요없게 되어 많이 줄어들 뿐더러, (Intrinsic Safety로 설계된 경우는 Barrier 또는 IS Isolator도 절감됨) 디지털 신호도 같이 처리가 가능하여지므로 보다 고도의 제어, 간단명료한 유지 보수 등이 가능해진다.
즉, 다시말하면, Hardware만 감축되는 것이 아니라 Software의 개념도 바뀌게된다는데 커다란 차이점 및 잇점이 있는 것이다. 일예로 자원관리시스템을 들자면, 기존의 아날로그 제어시스템에서 자원관리시스템을 가동하려면, 별도로 HART Maintenance System을 구축하여야한다. 이렇게 자원관리시스템을 가동하면 플랜트의 현장계기류들의 Configuration, diagnostic등 이력관리를 원격으로 처리할 수가 있어 플랜트 시운전 및 유지보수행위에 소요되는 시간, 인원, 경비등을 획기적으로 절감할 수 있음은 주지하시다시피 시대적인 요구사항이다.
특히 Off Shore라든지, 원격제어가 필요하거나 인원투입이 어려운 장소일 경우는 아주 필요한 시스템으로 정착되어가는 추세이다. 그러나, 필드버스용 제어시스템에서는 추가적인 HART Connection System 없이도, 이런 기술적인 사항까지를 한꺼번에 해결해줄 수 있으므로 프로젝트비용을 획기적으로 줄일 수 있고 또한 추후 유지보수비용도 줄고 과학적인 관리까지가 가능한 이유로 적용사례가 확산되고 있다. (중동, 유럽등 해외 프로젝트의 70% 이상은 이미 파운데이션 필드버스기술을 적용하고 있다)
그럼 본론으로 들어가 세부적인 사향에 대하여 거론한다.

필드버스 세그먼트 (Segment)
RFQ를 읽다 보면, Segment라는 말이 나온다. 필드버스 세그먼트는 다음 그림에서 간단히 설명한 것처럼, Fieldbus Power Supply, Termina tor, Trunk (Home Run) Cable, Spur, Splice, Terminal Block등의 필드버스 구성요소를 통합 지칭합니다. (위험지역인 경우는 해당 IS Isola tor 포함)<그림 9 참조>
RFQ상 FF-816 31.25kbit/s Physical Layer Profile Specification, ISA S50.02-1992 ISA Physical Layer Standard, IEC 61158-2:200 0(ed.2.0), Fieldbus standard for use in industrial control systems-Part 2: Physical Layer specification and service definition을 만족 하여야 할 것 이라는 문구가 많이 나온다. 위에서 거론한 것들은 전부 필드버스 H1의 Physi cal Layer에 대한 표준 얘기이며, 대부분의 필드버스 디바이스는 이 규격을 만족한다고 보면 된다.
여기서
ISA : The international society for measurement and control
IEC : International Electrotechnical Commission
이런 표준에 대한 자료는 ISA 또는 Founda tion Fieldbus Org에 가면 있다.
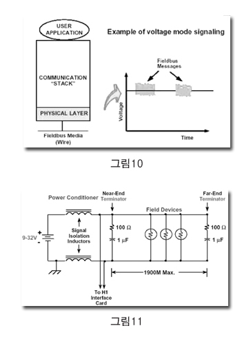
H1 파운데이션 필드버스신호는 그림처럼 버스전압 9~32VDC에 신호전압 0.15~1V P-P, 31.25kHz 속도로 데이터를 실어보내는 방식이다.<그림 10>

파운데이션 필드버스의 적용 예


따라서 요즈음 현장의 파운데이션 필드버스 계기류는 최소 9V에서 동작이 되도록 제조되고 있고, 필드버스 호환이라고 많이 적혀있을 것이다. (ITK 호환성들을 필히 확인하고, D/B가 업데이트되어있는지도 살펴야 하며 FAT시에 필히 샘플 한 개씩들은 전부 연결해서 호환성 테스트를 실시하는게 현장에서의 시행착오를 줄일 수 있다.)
일반적으로는 문제가 없지만, FISCO certifica tion project인 경우는 현장계기류 호환성 문제가 발생할수 있으므로, 현장계기류 선정시 잘 확인하여야 한다.
필드버스를 전기적 등가회로 도면으로 바꾸면 <그림 11>과 같이 된다.
파운데이션 필드버스는 속도가 31.25kHz의 상대적으로 느린 데이터통신을 하므로 반사파 등이 중요한 사항은 아니지만 이러한 Trunk Cable에는
① 종단의 임피던스를 맞춰주기위한 ‘Termina tor’ ② 시스템 전원과 파운데이션 필드버스전원 사이를 임피던스적으로 매칭시키기위한 전원콘디셔너 (power supply라는 명칭때문에 가끔씩 혼란이 발생함), ③ 방폭지역에 설치시 필요한 파운데이션 필드버스용 Barrier, 또는 IS Isolator 및 관련 Power Conditioner ④ 일반 케이블과 같지만 Cable Parameter를 고려한 파운데이션 필드버스 Trunk Cable 등이 필요하다.
계장설계 요구사항이 변경됨으로서 시스템과 현장계기류사이의 통신을 위해 새로운 계장기기군 (일종의 통신 신호변환기)이 필요하게 되었고, 현재는 MTL, HAWKE, P+F 등의 회사가 파운데이션 필드버스 제품군 판매를 주도하고 있다,

필드버스 토플로지 (Fieldbus Toplogy)
필드버스 연결 토플로지는 <그림 12>처럼 한 개의 케이블을 끌고와서 계속 직렬로 연결해가는 Daisy-chain방식과 트렁크케이블(Homerun cable이라고도함)로부터 Bus, Spur방식으로 연결해가는방법 그리고 현실적으로 많이 적용하는 Tree (Chickenfoot) 방식으로 대별할 수 있다.

파운데이션 필드버스의 적용 예


(실제 적용에서는 Daisy Chain 방식은 잘 적용하지 않다.)
파운데이션 필드버스의 연결방식에 대하여 부가설명을 드린다면, 약 4가지 연결방법이 있으나 1:1 연결방식 (아날로그 연결방식과 같은형태) 및 직렬 (Daisy Chain)연결방식들은 의미가 없으므로 결국 현장적용은 버스(Bus) 방식과 트리(Tree 또는 Chickenfoot) 방식으로 압축된다. 그러나 현장적용은 대부분 트리방식을 선택하고 있다. 두방식을 비교하자면, 만약 8대의 트랜스미터를 Trunk cable과 Spur로 분기한다면, Spur마다 3선 × 3분기점 = 9termination 이 필요하고, 8개 트랜스미터 × 9터미네이션= 72 터미널단자가 연결을 위해 필요하다.
그러나 Tree (또는 Chickenfoot)형태의 분기방식을 이용하여 위에서 설명한 8개 트랜스미터를 연결한다면 3선 × (8 트랜스미터+1 트렁크 케이블) = 27 터미널 단자가 필요하다. 따라서 연구실이나 소규모의 프로세스가 아니면 Tree 연결방식을 채택한다.
지금까지는 현장계기류 신호는 J.B -> Mash alling Panel -> DCS로 CVVS멀티케이블을 사용하여 연결하는게 보편적인 방법이지만, 파운데이션 필드버스개념을 적용하면, DCS 시스템과 연결되는 H1 Host 통신포트를 경유하여 파운데이션 필드버스용 케이블 (Trunk Cable 또는 Homerun Cable)을 포설하고 각각의 현장계기류와 연결한다. 여기에 필요한 파운데이션 필드버스관련 계기류를 정리하면,
1) PC(Power Supply Conditioner): 필드버스에 전원을 공급하기 위한 전원컨디셔너, 물론 이중화 안전지역용 전원컨디셔너가 필요한 경우에는 Redundant Power Supply Conditioner도 있으므로 필요에 따라 선택하여 사용하면 된다.
2) 종단저항 (Terminator) : Trunk-Home run cable의 양단에 각각 1개씩 필요.
3) Spur Block - MEGABLOCK 또는 Device Coupler : 몇개 안되는 현장계기군을 연결하기 위한 경우는, 물론 경비절감이 제일의 목표인 경우는 일반 터미널단자를 사용한 다음 필요량만큼 parallel daisy chain연결하여 사용하여도 무방하나, 극성(+, -), 단락 (Short Circuit - 해당 Trunk상의 모든 필드버스 기기군이 다운됨)등을 신경을 써서 작업 필요.
그러나 연결하여야 할 현장계기숫자가 많은 경우에는 (대부분의 프로젝트가 이에 해당) Device Coupler (MEGA Block) 등의 와이어링 디바이스를 사용하는 게 현실적이다. 이러한 Device Coupler 종류에는 SPUR line의 short circuit를 방지하기위한 Spur Guard 기능이 있는 것을 많이 적용한다.
그럼 지금부터는 위에서 언급한 필드버스 구성품을 세부적으로 거론한다.<그림 14>
파운데이션 필드버스에 연결되는 현장계기류에 루프전원을 공급하기 위하여는 기존의 전원 공급장치(Switching Power Supply, Bulk Power Supply 등)를 사용할 수가 없다.

파운데이션 필드버스의 적용 예


임피던스 문제로 인하여 (Impeadance Mis matching) 필드버스상의 디지털신호까지도 흡수해 버리는 현상이 생긴다. 따라서 전원공급장치와 (Power Supply) 필드버스 케이블사이에 전원은 공급이 되고 디지털 신호를 감쇄시키지 않는 Power Conditioner를 사용하여야한다. 이러한 Power conditioner는 isolation부 및 condi tioner부로 구성되어 있다.
RFQ상 이중화전원 (Redundant Power)라는 단어가 나오는 경우, 이중화전원이라는 것은 상기의 isolation단 및 conditioner단을 이중화 하라는 얘기이다 (Bulk power supply를 이중화로 착각하는 경우가 있음). <그림 14>를 보면, DC Power #1, #2가 있 다. 여기에 시스템전원이 (물론 이중화 벌크전원) 연결되고 해당부분에 문제가 생겼을 때 원격장비(DCS)에 경보를 할 수 있는 알람기능을 보유하고 있다.
Isolation (DC/DC)부 및 FILTER (Power Conditioner)부분이 공히 이중화 되어있는 것을 알 수가 있다. 실제 적용 예를 보면, 이중화가 필요한 경우는 해당 트렁크케이블에 많은 필드버스 계기류 (12~16개)를 연결하여, 이 PC가 다운되면 많은 정보를 잃을 가능성이 있는 경우에 사용한다.

파운데이션 필드버스의 적용 예


<그림 15, 16>은 HAWKE사와 MTL사 Power Conditioner를 보인다. 그림상 전원 컨디셔너는 일반지역 (안전지역)에 설치된 필드버스 현장계기류를 위한 것으로서 ① 이중화 (isolation 단 및 power conditioner 단 공히) 되어있으며 따라서 Hot Replace가 가능하며, ② DCS 시스템에 이상상태 (Fail)를 알려주기위한 Contact 신호를 보낼 수 있고, ③ 유수의 DCS makers를 위해 일일이 개별 와이어링할 필요없이 커넥터만 간단하게 연결하면 되도록 배려가 되어 있다.
호크사에서는 IS용 Rack 타입도 나온다. <그림 17>에도 보이지만 하나의 세그먼트당 2개의 TRUNK 단자가 나와있는게 흥미롭다 - 이중화 트렁크 설계 (Dual Trunk design)를 위한 것 이라고한다. 세그먼트 설계시 유연성이 많을 것 같다. 참고로 트렁크 케이블은 Zone 2는 EEx(e)(n) 기준이고, 디바이스 커플러는 EEx (ia) 기준으로 설계하여 현장까지 18Vdc, 350mA를 보낼 수 있다고 하니까, 장거리에 많은 현장계기를 물릴 경우에 적합한 장비이다. <그림 18>
<그림 19>는 요꼬가와 시스템에 설치된 HAWKE사 Rack Type 설치 사진이다

파운데이션 필드버스의 적용 예


문의: (02)784-2526
<다음 호 각기술 ‘필드버스’면에서 계속..>

최 시 용 / TM솔루션

<저작권자 ⓒ 자동제어계측(www.autocontrol.co.kr) 무단전재 및 재배포 금지 >



0 / 1000
주제와 무관한 악의적인 댓글은 삭제될 수 있습니다.
0 / 1000




제품등록 무료 제품 거래 비용 없음!



산업전시회 일정




다아라 기계장터 제품등록 무료