본문 바로가기
  • 유해게시물신고
2015년 1월5일 당좌거래정지
온라인 뉴스팀|kidd@kidd.co.kr
페이스북 트위터 카카오스토리 네이버블로그 프린트 PDF 다운로드

2015년 1월5일 당좌거래정지

기사입력 2015-01-05 19:47:29
페이스북 트위터 카카오스토리 네이버블로그 프린트 PDF 다운로드
[산업일보]
2015년 1월5일 당좌거래정지

2015년 1월5일 당좌거래정지

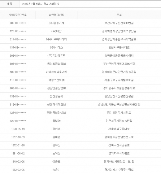
603-81-***** (주)강능기계 부산사하구신산로13번길
120-86-***** (주)다안 경기화성시장안면석포공단길
211-86-***** (주)서우하이터치 경기성남시중원구사기막골로
137-86-***** (주)시더스 인천서구봉수대로
303-81-***** (주)유한피유택 충북음성군금왕읍사창리
607-81-***** 동성포장실업(주) 부산연제구거제대로96번길
509-81-***** 마이크로파우더(주) 경북의성군다인면가원농공길
118-81-***** 석정프랜트(주) 서울구로구디지털로30길
608-81-***** 선암건설산업(주) 경기광주시초월읍경충대로
136-81-***** 선진정공(주) 충남당진시신평면신평길
312-86-***** 선진파워테크(주) 충남천안시동남구성남면신사운전길
127-81-***** 정원종합건설(주) 경기의정부시시민로
122-81-***** 헤벨(주) 인천서구가정로77번길
70/05/19 강세훈 서울송파구중대로
57/10/09 김대섭 경북성주군선남면선노로
72/01/20 김유진 전북익산시궁동로
61/06/12 노계성 경기파주시가람로
49/02/26 성윤모 경기하남시대청로116번길
62/02/26 송윤기 경기성남시수정구수정로

자료제공 : 금융결제원



0 / 1000
주제와 무관한 악의적인 댓글은 삭제될 수 있습니다.
0 / 1000




제품등록 무료 제품 거래 비용 없음!



산업전시회 일정




다아라 기계장터 제품등록 무료