본문 바로가기
  • 유해게시물신고
배관 보온 단열 공사 진화, 매직 스틸밴드 주목
이강은 기자|
페이스북 트위터 카카오스토리 네이버블로그 프린트 PDF 다운로드

배관 보온 단열 공사 진화, 매직 스틸밴드 주목

기사입력 2015-01-14 10:15:36
페이스북 트위터 카카오스토리 네이버블로그 프린트 PDF 다운로드
배관 보온 단열 공사 진화, 매직 스틸밴드 주목



[산업일보]
보온단열 공사에 획기적인 스틸밴드 제품이 주목을 받고 있다.

일반적으로 발전소나 석유, 화학 플랜트 등에서는 배관을 통해 많은 열에너지가 방출되어 이를 막고자 ‘보온단열 공사업’이 존재한다. 보온단열 공사는 보통 배관을 보온단열하고 보호커버를 둘러 씌우고 스틸밴드로 묶어 마무리 하는 과정으로 진행되는데, 여기서 스틸밴드는 스틸 재질 밴드의 통칭으로 사용된다. 스틸밴드는 세부적으로 호스밴드, 클립밴드, 후크밴드, 서스밴드, 클램프밴드 등 용도 및 기능에 따라 다양한 호칭으로 사용되기도 한다.

최근 이 분야에서 인건비 및 물가 상승 등으로 기성제품의 선호도가 급상승 중이다.

번거로운 현장 조립과정이 필요하지 않고 쉽게 사서 쓰면 되기 때문에 하나의 트렌드화 될 정도로 관심이 집중되고 있다. 배관 보온공사, 단열공사업 업력 30년의 이앤에스(http://매직스틸밴드.com) 김문호 기획이사는 “건설공사 분야에도 효율을 기반으로 하는 공사 트렌드가 존재하는데 시대적 흐름을 간파하고 이를 위해 연구개발을 지속적으로 해야 시대가 원하는 결과물을 낼 수 있다”고 조언한다.

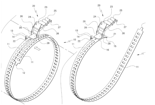
김 이사가 운영 중인 이앤에스는 이러한 트렌드에 맞는 공법을 위해 올해 ‘매직 스틸밴드’를 출시했는데, 이 제품은 1차로 당기면서 조이면 자동 걸림으로 고정되고 2차로 후크를 걸고 당겨 체결 완료되는 방식의 구조로 ‘이중 걸림기능을 갖는 스틸밴드 결속장치’라는 명칭의 특허까지 획득한 상태다. 이중 걸림기능이 체결 상태도 밴드머신을 사용하여 조인 만큼 이상으로 튼튼해 무겁고 번거로운 밴드머신 작업이 필요하지 않는다는 것이 업체 측 설명이다. 밴드 끝의 돌기를 홈에 끼워 넣으면 끝이기 때문에 기존의 열등한 방식으로 복잡하고 위험한 많은 현장상황에서 큰 장점으로 꼽힌다.

한편, 이앤에스는 매직 스틸밴드 외에도 직관, 엘보, 밸브, 후렌치, 캡 등 기성 보호커버 분야에서도 다양한 기술력을 보유하고 있으며 2005년부터 관련 원천기술을 지속적으로 취득하고 있다.



0 / 1000
주제와 무관한 악의적인 댓글은 삭제될 수 있습니다.
0 / 1000




제품등록 무료 제품 거래 비용 없음!



산업전시회 일정




다아라 기계장터 제품등록 무료